首页 | 汽车研究网_汽车智库互动平台 官方微信 科瑞咨询  
汽车研究网,我的汽车领域专家
  国内资讯  国际资讯  行业快讯 新能源 智能汽车 前沿技术 数据快讯  
乘用车 卡车 客车 专用车 零部件 发动机 自主品牌  
高层动态 合资合作 整合并购 战略规划 出口 召回 终端市场 经营业绩 人事变动 新品上市 品牌营销  
国际政策 国内政策 地方政策  
经济指标 改革规划 基建投资 能源环境 金融商贸    
知识术语  汽车人物  汽车展会  科研院校 人才招聘    
热点透视 产销分析 展会论坛 厂商专题    
福特获得自动驾驶转向技术专利 可利用手机完成车辆转
来源:盖世汽车   编辑:张婷  2018-10-11 16:11:42 字号   打印  收藏

据外媒报道,据美国专利商标局(US Patent and Trademark Office)发布的文件显示,福特被授予一项名为“非自动驾驶转向模式(Non-Autonomous Steering Modes)”的技术专利。

福特希望自动驾驶车辆的用户能够利用智能手机完成车辆的转向操作。该系统将通过无线网络接收用户在智能手机设备上的操作输入,并将其用于前轮转向,该软件应用类似Tilt Racer应用,可将智能手机转化为控制器,能够与赛车模拟器实现交互。

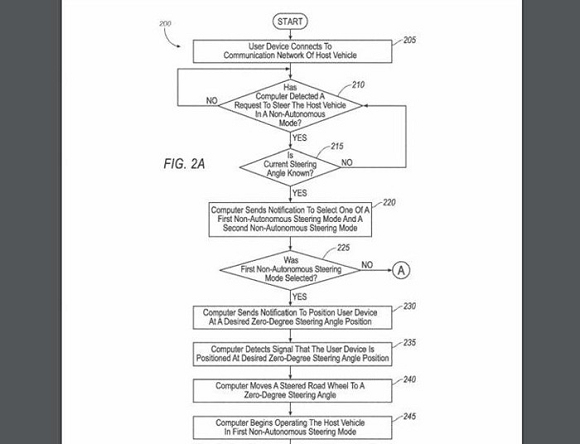
首先,由用户发送车辆转向的请求,车载计算机将决定操控车辆的转向角,并要求用户在两个可用转向模式中作出选择。若其选择“第一种自动驾驶转向模式(First Autonomous Steering Mode)”,车载系统将要求用户将设备与车辆的零转向角(zero steering angle)进行校准,然后再开始车辆的转向操作。据推测,该选项可能只有在车辆完全停止时才能启用。

然后,车辆将根据用户意愿进行转向,但需要用户智能手机设备内的加速度计及陀螺仪(gyroscope)进行辅助,旨在感知动作、动作的频率、重心及用户对设备的抓握角度。例如,该设备若从零度位置转动了360度,那么车载计算机将引导车辆的车轮转向角设为360度。

另一个选项为“第二种自动转向模式(Second Autonomous Steering Mode)”。在该模式下,车载计算机将要求用户校准设备显示屏上的虚拟方向盘,与车辆前轮的转向角度保持一致。用户可用手指在触屏上操作方向盘,进行转向操作。

两种转向模式下的所有操作输都将通过电动执行器(electric actuators)来启动,因为操作人员与车辆部件间的实体接触已断开,改用无线网络来操控。

福特对用户使用的设备未做限制,只要用户的智能手机配置了处理器、内存、显示屏、触屏、加速度计、陀螺仪及通信功能,就能使用福特的自动驾驶转向功能。然而,需要指出的是,这只是福特推出的前期版本,该功能将定位未来车辆的(转向)操控。

福特表示,该专利文件只提供说明,预计其专利的设计理念会随着时间及公司专业知识的积累而不断演进,这是个持续改变的设计理念。

[NextPage]
上一篇:北卡罗来纳州立大学科学家研发高效电动汽车充电器 将
 
一汽-大众第1000万台发动机下线
宁德时代计划在印尼建厂 将投资50亿美元
LG化学高镍电池预计明年交付特斯拉
大众在欧洲或需要40座电池厂
热点排行
1
2
3
4
5
6
7
8
9
10
新闻专题
· 第十六届中国汽车产业发展(泰达)国际论坛
· 2018年北京国际车展专题报道
· 2017年上海国际车展专题报道
· 2017中国国际节能与新能源车展专题报道
· 2016北京国际车展专题报道
· 2016年天津国际客车、公交车及零部件展
· 2015天津国际客车、公交车及维保工具展
回顶部
关于我们 智库平台 科瑞咨询 招聘英才 联系我们 法律声明
电话:4006-997-802    客服邮箱:market@autothinker.net    投稿邮箱:news@autothinker.net
Copyright @ 2010 - 2018 China-Qiche All Rights Reserved 沈阳科瑞信息有限公司 版权所有 辽ICP备18018472号 增值电信业务经营许可证 辽B2-20180363
手机版
执行时间:1.51 秒