首页 | 汽车研究网_汽车智库互动平台 官方微信 科瑞咨询  
汽车研究网,我的汽车领域专家
  国内资讯  国际资讯  行业快讯 新能源 智能汽车 前沿技术 数据快讯  
乘用车 卡车 客车 专用车 零部件 发动机 自主品牌  
高层动态 合资合作 整合并购 战略规划 出口 召回 终端市场 经营业绩 人事变动 新品上市 品牌营销  
国际政策 国内政策 地方政策  
经济指标 改革规划 基建投资 能源环境 金融商贸    
知识术语  汽车人物  汽车展会  科研院校 人才招聘    
热点透视 产销分析 展会论坛 厂商专题    
优化冗余设计 特斯拉发布自动驾驶专利
来源:汽车之家   编辑:候小南  2019-08-22 15:36:59 字号   打印  收藏

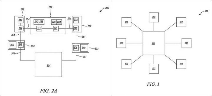
据外媒TESLARATI报道,特斯拉近期公布一份名为“高速布线系统架构”的专利申请信息,该专利涉及其全自动驾驶计算机(FSD)的一个重要方面:冗余。

传统计算机的布线系统通常在通信中不设计冗余部分,这意味着,在每个连接到中心处理器的设备中,如果其中一个连接失败,就可能造成通信的失败。这在自动驾驶情况下,可能导致系统完全故障,进而引发自动驾驶安全性风险。

但是,简单地添加更多备用连接电线也不是一个好的解决方案,更多的电线意味着更多的连接点、更大的主板,这也会带来更高的成本。特斯拉的“高速布线系统架构”专利,正是在这方面进行了优化。

专利图显示,布线结构包括双向主干电线布局,形成往返处理器的环路。同时,主干网可以作为两个独立的环路运行,这意味着如果主干网的一部分发生故障,所有设备的数据仍然可以发送到处理器和从处理器发送。

设备内的每个集线器还通过主干串联或并联连接到其他集线器,如果设备中的一个集线器发生故障,其他集线器仍然可以传输到主干网,从而传输到处理器。除此之外,这种新架构相对于传统系统的优点还在于,采用了较少的电线进行连接。

特斯拉指出,这项专利可用于多种车辆,包括卡车,这表明特斯拉可能打算将该架构用作未来所有FSD的标准设置。此外,通过拓展架构,这个系统还可能在农业、航海和其他工业中应用。

特斯拉最近的一些专利申请表明,其正在努力提高FSD系统的安全性。例如,今年5月份发布的“用于处理车辆神经网络处理器错误的系统和方法”,该应用程序描述了一种安全处理自动驾驶软件中遇到错误的方法。

另一个叫做“自主驾驶系统紧急信号”的专利,描述了一种从车辆传感器快速传送紧急信息的方法,该传感器将嵌入自动驾驶软件。

特斯拉在今年4月发布了FSD,希望通过FSD的不断优化实现完全自动驾驶,并表示明年将实现自动驾驶出租车(Robotaxi)上路。

上一篇:大陆旗下EB公司为威马EX5提供软件服务
领益智造拟20亿投建电池精密结构件项目
7月22日,领益智造发公告,公告显示,为满足领益智造业务扩展及产能布局的需要,公司或其指定的下属公司拟与荆门高新技术产业开发区管理委员会签署项目投资协议。根据协议,公司本次拟投资约20亿元建设电池精密结构件项目,共分两期进行建设,第一期投资金额1.5亿元;第二期投资金额18.5亿元。该项目计划通过在荆门市建设生产空间从而围绕战略客户开展规模性的配套发展。 [详细]
2021-07-23 16:11:30
 
宁德时代与特斯拉签供货协议
近日,宁德时代新能源科技股份有限公司与特斯拉签订了新的供货框架协议。协议内容将在2022年1月至2025年12月期间向特斯拉供应锂离子动力电池产品。双方已对技术研发、质量保证、产能供应、违约责任等作出相应规定,但具体的采购规模和销售金额要根据特斯拉的实际订单确定。 [详细]
2021-06-30 09:09:00
 
LG斥1000万美元入股电池材料公司
日前,韩国电池制造商LG能源解决方案表示,已以120亿韩元(约7560万元人民币)收购澳大利亚化学公司Queensland Pacific Metals(QPM)7.5%的股份,以便为该公司提供稳定的电池关键金属供应。LG已与QPM签署长达10年的合约,将从2023年底起每年采购7,000吨镍和700吨钴。该项目计划在2023年从新喀里多尼亚进口和加工优质矿石,以生产镍和硫酸钴。 [详细]
2021-06-09 11:47:47
 
布雷博一季度营收6.751亿欧元,净利润6140万欧元
 5月10日,意大利零部件供应商布雷博发布了2021年第一季度财报。财报中表示,第一季度营收同比上涨17.2%至6.751亿欧元,同期创历史新高;息税折旧摊销前利润同比增长33%至1.36亿欧元;息税折旧摊销前利润率从去年同期的17.7%涨至20.1%;净利润为6140万欧元,较2020年第一季度的2980万欧元激增106%。 [详细]
2021-05-12 15:38:22
 
稳定增长 均胜电子发布2021年一季报
近日,中国零部件企业均胜电子发布2021第一季度财报。数据显示,本期均胜电子实现营业收入约人民币123亿元。若不考虑均胜其他业务于2021年的出表影响,本期营业收入同比上升7.5%。同时,归属于上市公司股东的净利润、每股收益以及净资产收益率均同比上升 [详细]
2021-05-02 11:37:36
 
三星SDI第一季电池营收139亿元
近日,三星SDI发布2021年一季度业绩报告,报告显示,公司第一季度销售额达人民币173亿元,同比增长23.6%;营业利润7.8亿元,同比增长146.7%;净利润8.6亿元,同比增长200多倍。其中,电池业务销售额为139亿元,同比增长32.9%。 [详细]
2021-04-30 18:21:06
 
特斯拉法务副总裁离职 加盟激光雷达企业Luminar
据报道,长期担任特斯拉法务副总裁兼代理总法律顾问的Al Prescott已经离职,他将加盟激光雷达企业Luminar。Prescott的资料显示他曾为特斯拉的高管和董事会提供指导,并负责指导公司北美、欧洲和亚洲的所有法律业务。知情人士透露,在Prescott离职之后,特斯拉现任诉讼主管Bill Berry将领导公司法务部门,但是不会担任总法律顾问。 [详细]
2021-04-22 17:51:10
 
LG拟在欧美建厂为特斯拉供应新电池
汽车研究网消息,据报道,韩国LG化学旗下电池制造子公司LG能源解决方案计划在2023年开始为特斯拉生产4680新电池,并且正在计划在美国或欧洲建厂。 [详细]
2021-03-10 16:58:38
 
通用发布全新电动动力总成
通用汽车在CES上向大众展示了其“Ultium Drive”电动动力总成。Ultium Drive被称为“可互换的电动动力总成家族”,该家族包括五个驱动单元和三个电动机。通用汽车表示,下一阶段,集团将致力于打造各种型号和尺寸的电动汽车。 [详细]
2021-01-14 10:50:53
 
耗资20亿 澳洲新建500MW电池储能项目
法国可再生能源开发商Neoen提交了一份规划许可文件,计划在澳大利亚新南威尔士州启动500MW/1000MWh电池储能项目。据估计,该项目将耗资约3-4亿澳元(约合15-20亿元人民币),将于2022年开始建设,到2023年开始运营。 [详细]
2021-01-13 10:53:05
 
 
一汽-大众第1000万台发动机下线
宁德时代计划在印尼建厂 将投资50亿美元
LG化学高镍电池预计明年交付特斯拉
大众在欧洲或需要40座电池厂
热点排行
1
2
3
4
5
6
7
8
9
10
新闻专题
· 第十六届中国汽车产业发展(泰达)国际论坛
· 2018年北京国际车展专题报道
· 2017年上海国际车展专题报道
· 2017中国国际节能与新能源车展专题报道
· 2016北京国际车展专题报道
· 2016年天津国际客车、公交车及零部件展
· 2015天津国际客车、公交车及维保工具展
回顶部
关于我们 智库平台 科瑞咨询 招聘英才 联系我们 法律声明
电话:4006-997-802    客服邮箱:market@autothinker.net    投稿邮箱:news@autothinker.net
Copyright @ 2010 - 2018 China-Qiche All Rights Reserved 沈阳科瑞信息有限公司 版权所有 辽ICP备18018472号 增值电信业务经营许可证 辽B2-20180363
手机版
执行时间:1.51 秒