首页 | 汽车研究网_汽车智库互动平台 官方微信 科瑞咨询  
汽车研究网,我的汽车领域专家
  国内资讯  国际资讯  行业快讯 新能源 智能汽车 前沿技术 数据快讯  
乘用车 卡车 客车 专用车 零部件 发动机 自主品牌  
高层动态 合资合作 整合并购 战略规划 出口 召回 终端市场 经营业绩 人事变动 新品上市 品牌营销  
国际政策 国内政策 地方政策  
经济指标 改革规划 基建投资 能源环境 金融商贸    
知识术语  汽车人物  汽车展会  科研院校 人才招聘    
热点透视 产销分析 展会论坛 厂商专题    
宁德时代、小米长江产业基金等8家企业入股芯迈半导体
来源:盖世汽车   编辑:王琳  2020-10-10 11:58:35 字号   打印  收藏

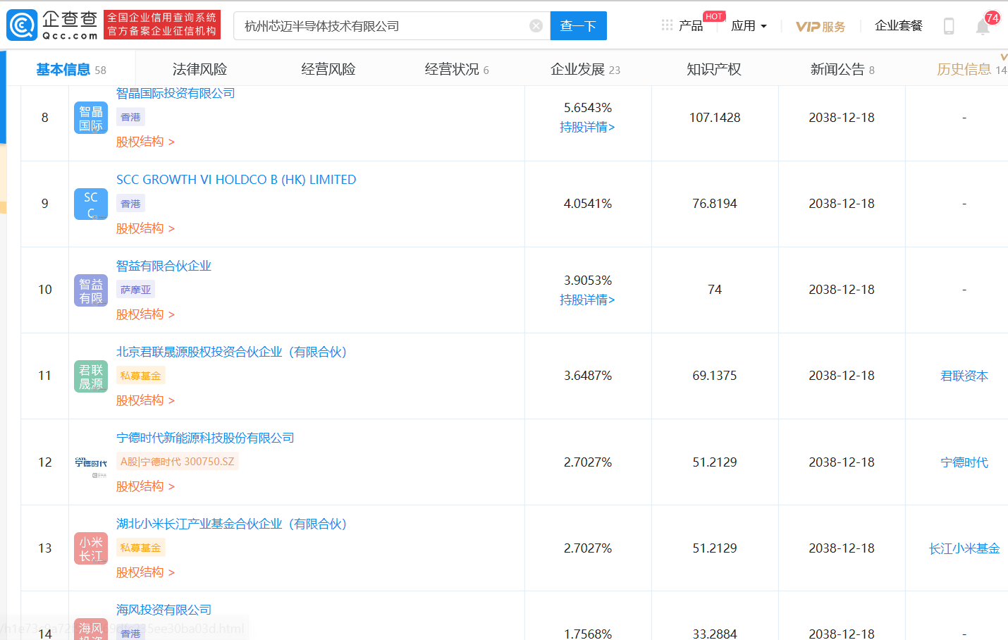
  日前,企查查App显示,杭州芯迈半导体技术有限公司(以下简称杭州芯迈半导体)发生工商变更,股东新增湖北小米长江产业基金合伙企业(有限合伙)、宁德时代新能源科技股份有限公司、海风投资有限公司、智晶国际投资有限公司等8家企业,注册资本由1250万人民币增至约1894.88万人民币。

图片来源:企查查

  企查查App显示,杭州芯迈半导体成立于2019年9月,法定代表人为任远程,经营范围包括系统集成、集成电路及模块、电子产品的技术开发、技术服务、成果转让;集成电路芯片的生产(限分支机构经营)、测试、安装;电子产品、集成电路芯片的销售等。目前,该公司第一大股东为瓦森纳科技香港有限公司,持股比例为15.83%;宁德时代新能源科技股份有限公司和湖北小米长江产业基金合伙企业(有限合伙)分别持股2.70%。

  据了解,杭州芯迈半导体曾经出现在《杭州市 2020 年重点预备项目前期工作计划》中,该工作计划中涉及到了芯迈 IDM模拟集成电路芯片生产线项目、青山湖科技城高端储存芯片产业化项目。其中,芯迈IDM模拟集成电路芯片生产线项目计划总投资180亿元,拟建设IDM模拟集成电路芯片生产基地。

上一篇:蒂森克虏伯汽车业务部门将裁员800人
江西省政府与宁德时代签署战略合作协议
近日,江西省政府与宁德时代新能源科技股份有限公司签署战略合作框架协议。根据协议,双方按照优势互补、互惠互利、共同发展的原则,建立长效合作机制,开展多渠道、宽领域、深层次合作,培育经济发展新动能,打造未来竞争新优势,实现合作共赢。同时,宜春市人民政府也与宁德时代签署了战略合作框架协议。 [详细]
2021-08-03 09:56:25
 
芯驰科技获近10亿元融资
7月26日,芯驰科技宣布完成近10亿元B轮融资。本轮融资由普罗资本旗下国开装备基金与云晖资本联合领投,中银国际、上海科创基金、张江浩珩等新股东跟投;经纬中国、和利资本、祥峰投资等老股东继续加码,宁德时代也通过晨道资本持续重仓加注。据悉,本轮融资将主要用于更先进制程芯片的研发。 [详细]
2021-07-26 15:10:24
 
地上铁与宁德时代签署战略合作协议
7月22日,宁德时代新能源科技股份有限公司与地上铁租车(深圳)有限公司在宁德签署战略合作协议。根据协议,地上铁与宁德时代作为各自行业内领军企业,本着“优势互补、市场主导、互利共赢”的原则,双方将充分发挥各自优势,实现互利共赢,打造协同竞争优势,未来将加强品牌、市场、技术与产品合作,探索高效、务实的商业合作模式,共同开拓新能源汽车市场,提升可持续发展和创新能力。 [详细]
2021-07-23 18:07:17
 
注册资本2亿 宁德时代成立电子科技公司
7月19日,由宁德时代100%控股的屏南时代电子科技有限公司成立。屏南时代电子科技有限公司注册资本为2亿元人民币,法定代表人为林松清。经营范围包括:电子专用材料研发、电子元器件与机电组件设备制造、电池制造、电池销售、电子元器件零售、电子专用材料销售等。 [详细]
2021-07-23 11:46:47
 
璞泰来投资52亿于肇庆建两大基地
近日,璞泰来发布公告,宣布公司与广东省肇庆市高要区政府达成初步投资意向,拟在高要区投资设立全资子公司建设隔膜涂覆生产及锂电自动化设备项目,项目总投资52亿元。其中,年产40亿㎡隔膜涂覆生产基地项目计划总投资约38亿元,分两期建设,一期20亿㎡预计2023年建成投产,二期20亿㎡预计2026年投产。锂电自动化设备制造基地计划投资14亿元,预计2023年建成投产。 [详细]
2021-07-14 09:25:43
 
宁德时代在厦门成立公司
近日,厦门时代新能源科技有限公司注册成立,该公司由宁德时代新能源科技股份有限公司全资控股,是宁德时代在厦门的最新布局。该公司的法定代表人为曲涛,注册资本5亿元。经营范围包括:电池制造;电池销售;电子专用材料制造;电子专用材料销售;新材料技术推广服务等,与宁德时代的主营业务保持一致。 [详细]
2021-07-09 11:05:44
 
宁德时代与中华煤气达成合作
日前,宁德时代新能源科技股份有限公司与香港中华煤气有限公司双方宣布达成战略合作。根据协议,双方将在能源互联网建设、储能解决方案、储能商业模式创新、电池技术合作、芯片与股权投资等多方面展开合作,共同推动行业产业的零碳转型,助力国家双碳目标的实现。宣布成立合资公司并投入优势资源,未来打造集先进储能技术、集成服务提供商、综合智慧能源解决方案供应商及项目运营商于一体的能源科技创新企业。 [详细]
2021-07-08 15:48:49
 
宁德时代与特斯拉签供货协议
近日,宁德时代新能源科技股份有限公司与特斯拉签订了新的供货框架协议。协议内容将在2022年1月至2025年12月期间向特斯拉供应锂离子动力电池产品。双方已对技术研发、质量保证、产能供应、违约责任等作出相应规定,但具体的采购规模和销售金额要根据特斯拉的实际订单确定。 [详细]
2021-06-30 09:09:00
 
云快充完成B1轮融资
日前,江苏云快充新能源科技有限公司宣布完成B1轮融资,投资方为宁德时代、合力资本和财信金控旗下财信产业基金。云快充成立于2016年11月,是中国最早推出第三方充电SaaS服务平台的科技互联网型公司。2017年,企业正式发布充电共享平台“云快充”。 [详细]
2021-06-23 08:45:44
 
宁德时代与中国能建签订战略合作协议
近日,中国能源建设股份有限公司与宁德时代新能源科技股份有限公司在福建宁德签订战略合作协议。根据协议,双方将在科技研发、储能系统产品和产业合作、储能项目以及重点区域市场、国际业务拓展等方面建立长期、稳定、牢固的战略合作伙伴关系。 [详细]
2021-06-22 10:32:05
 
 
一汽-大众第1000万台发动机下线
宁德时代计划在印尼建厂 将投资50亿美元
LG化学高镍电池预计明年交付特斯拉
大众在欧洲或需要40座电池厂
热点排行
1
2
3
4
5
6
7
8
9
10
新闻专题
· 第十六届中国汽车产业发展(泰达)国际论坛
· 2018年北京国际车展专题报道
· 2017年上海国际车展专题报道
· 2017中国国际节能与新能源车展专题报道
· 2016北京国际车展专题报道
· 2016年天津国际客车、公交车及零部件展
· 2015天津国际客车、公交车及维保工具展
回顶部
关于我们 智库平台 科瑞咨询 招聘英才 联系我们 法律声明
电话:4006-997-802    客服邮箱:market@autothinker.net    投稿邮箱:news@autothinker.net
Copyright @ 2010 - 2018 China-Qiche All Rights Reserved 沈阳科瑞信息有限公司 版权所有 辽ICP备18018472号 增值电信业务经营许可证 辽B2-20180363
手机版
执行时间:1.51 秒