首页 | 汽车研究网_汽车智库互动平台 官方微信 科瑞咨询  
汽车研究网,我的汽车领域专家
  国内资讯  国际资讯  行业快讯 新能源 智能汽车 前沿技术 数据快讯  
乘用车 卡车 客车 专用车 零部件 发动机 自主品牌  
高层动态 合资合作 整合并购 战略规划 出口 召回 终端市场 经营业绩 人事变动 新品上市 品牌营销  
国际政策 国内政策 地方政策  
经济指标 改革规划 基建投资 能源环境 金融商贸    
知识术语  汽车人物  汽车展会  科研院校 人才招聘    
热点透视 产销分析 展会论坛 厂商专题    
福特3D打印轻量化制动盘 省去涂层降低成本
来源:盖世汽车   作者:余秋云   编辑:陈艳如  2018-08-22 14:56:31 字号   打印  收藏

虽然一些先进的、重量更轻的材料已经在某些高端/具异国情调的汽车上开始流行,但大多数原始设备汽车制动盘都是用普通的铸铁生产的。铸铁可以制成制动盘,但是由于该材料成本低廉,腐蚀以及符合大众高端市场等不可避免的问题需要制造商们权衡。

据外媒报道,福特汽车公司(Ford Motor Company)已申请了一项美国专利,该专利涉及使用3D打印技术生产轻质铝合金制动盘的工艺,要求使用过共晶铝硅合金,即具有高硅含量的铝合金,以使此类制动盘能够满足极端温度和耐磨要求。该专利指出,使用此类材料制造制动盘的概念并不新鲜,但是直到现在,此类材料的可铸性和高昂的加工成本使他们无法在市场立足。

福特专利提出,应对此问题的其中一个解决方案是六部制造工艺法,涉及机器加工以及“制动气室”,使用激光沉积焊接或3D打印生产摩擦环。该专利作者提出:“在使用激光沉积焊接工艺或3D打印工艺熔融冶金生产摩擦环的过程中,粉末状铝合金可快速固化,使其保持良好的机械性能。”

如此一来,摩擦环就可以实现高水平热稳定性和高水平耐磨性,从而无需再给摩擦环涂层。换句话说,某些铝硅制动盘的摩擦表面必须涂有具保护作用的碳化钨-钴,以便使其保持充分的耐磨性,福特的制造工艺就可省去涂层要求。

上一篇:Polestar将为沃尔沃提供AWD系统升级 提高后轮扭矩
1430万美金!创企融资生产将汽车充电能力提高40%的材料
西雅图一家成立3年的初创公司Group14 Technologies正在筹集资金,以研发能够改善电动汽车电池的材料。美国证券交易委员会的一份新文件显示,Group14 Technologies已经筹集了1430万美元,该家初创公司专注于生产能够提高电池性能的纳米材料。 [详细]
2019-08-16 11:37:23
 
福特利用车间通信技术降低十字路口交通事故发生率
福特推出了十字路口优先管理(Intersection Priority Management,IPM),该系统可利用车间通信技术,协调与周边临近车辆的行驶。若两辆车向同一个十字路口靠近,该系统将会显示穿过该十字路口的理想车速,避免发生碰撞事故。 [详细]
2018-10-12 11:43:43
 
福特获得自动驾驶转向技术专利 可利用手机完成车辆转
据外媒报道,据美国专利商标局(US Patent and Trademark Office)发布的文件显示,福特被授予一项名为“非自动驾驶转向模式(Non-Autonomous Steering Modes)”的技术专利。福特希望自动驾驶车辆的用户能够利用智能手机完成车辆的转向操作。该系统将通过无线网络接收用户在 [详细]
2018-10-11 16:11:42
 
奥迪:2020年起实现电动汽车12分钟快充至80%
据外媒报道,奥迪公司称,到2020年,奥迪电动车型将能够在不到12分钟的时间内快速充电至80%。奥迪刚刚发布了其首款纯电动车型——E-tron SUV,使用目前在欧洲各地推出的150千瓦快速充电器,可使其在30分钟内充电80%。 [详细]
2018-09-28 11:07:09
 
【2018泰达论坛】科技部续超前:中国最大的短板是技术
2018中国汽车产业发展(泰达)国际论坛于9月1日在津隆重举办,科学技术部高新技术发展及产业化司副司长续超前表讲话,他表示多部门跨行业的通力合作,我国新能源汽车整个的产业取得了举世瞩目的成就,但新能源汽车产业的发展其实还是面临着很多的挑战。下一步通过最近中美贸 [详细]
2018-09-01 18:22:32
 
减重34%!福特与麦格纳共同打造新型碳纤维副车
福特正在评估新的碳纤维副车架,看它是否可用于大批量生产车辆。新的前副车架由福特和汽车行业的重要供应商麦格纳联合开发,目前正在福特Fusion开发车辆中进行评估 ,旨在测试其使用寿命。相较于钢制副车架,麦格纳的碳纤维副车架样品实现减重34%,仅包含六个部件:由两个模 [详细]
2018-06-25 09:08:44
 
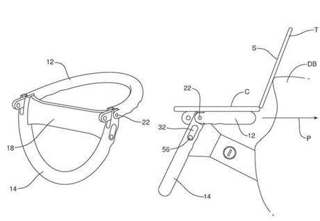
福特折叠式方向盘专利获批
美国专利商标局最近公布了一项福特的专利应用——折叠式方向盘,该系统本身的设计十分直观,方向盘内装有铰链,折叠后可作为笔记本电脑的支架(如上图)。然而,该款方向盘应用是针对自动驾驶车辆设计的,未来这类车辆可能根本不会配置方向盘,因此这类应用更关注短期应用效 [详细]
2018-06-11 14:34:47
 
高通与松下、福特、Kapsch及法可赛合作5G及C-V2X技术
高通与福特汽车宣布,双方正致力于在科罗拉多州部署蜂窝式车辆对一切通信技术。这是首次在美国部署C-V2X技术,也是早前宣称的科罗拉多交通部与松下合作的延续,旨在整合该州的互联汽车技术。松下还将与Kapsch TrafficCom合作科罗拉多交通部的V2X研发项目,后者将提供路侧单元 [详细]
2018-06-08 14:47:46
 
宝马设计工作室将为Ionity制造充电桩
汽车制造商宝马的创意咨询公司宝马设计工作室22日宣布,已被委托为Ionity设计电动汽车充电桩。Ionity是由宝马、戴姆勒、福特、大众等汽车制造商成立的合资公司,共同开发泛欧高速电动汽车充电网络。Ionity此前宣布,计划到2020年在“主要欧洲公路”上安装400座快速充电站。Io [详细]
2018-05-24 09:30:01
 
与Autodesk合作 通用将使用3D打印零部件
通用汽车于当地时间5月3日表示,公司正与设计软件公司Autodesk合作,生产全新、轻量化的3D打印零部件,以帮助通用实现增加替代燃料车产品的目标。 [详细]
2018-05-03 16:32:23
 
 
一汽-大众第1000万台发动机下线
宁德时代计划在印尼建厂 将投资50亿美元
LG化学高镍电池预计明年交付特斯拉
大众在欧洲或需要40座电池厂
热点排行
1
2
3
4
5
6
7
8
9
10
新闻专题
· 第十六届中国汽车产业发展(泰达)国际论坛
· 2018年北京国际车展专题报道
· 2017年上海国际车展专题报道
· 2017中国国际节能与新能源车展专题报道
· 2016北京国际车展专题报道
· 2016年天津国际客车、公交车及零部件展
· 2015天津国际客车、公交车及维保工具展
回顶部
关于我们 智库平台 科瑞咨询 招聘英才 联系我们 法律声明
电话:4006-997-802    客服邮箱:market@autothinker.net    投稿邮箱:news@autothinker.net
Copyright @ 2010 - 2018 China-Qiche All Rights Reserved 沈阳科瑞信息有限公司 版权所有 辽ICP备18018472号 增值电信业务经营许可证 辽B2-20180363
手机版
执行时间:1.51 秒